现在的社会,如果你没钱,没势,没背景,没学历,又不想认命,那我建议你在互联网闯一闯,因为互联网机会是公平的,做互联网的没有穷人,只有懒人,只要选对方向,执行力强一点,你的人生都会像开挂了一样,对此我深有体会。
现实生活中的情况是,很多人辛辛苦苦一辈子,最后任然生活在社会的底层(能不打工就尽量不要去打工,打一辈子的工,你打了个啥?打了个车贷,打了个房贷,打了个职业病,还把自己打好的青春年华全给搭进去了,老板看你不顺眼,骂你几句,你哼唧都不敢哼唧一声,然后领导盯着你干活,你就像做贼似的做事,做少了会骂你,做多了工资还不给你加,用到你的时候给你点窝囊钱,用不到你的时候一脚给你踹老远,TMD!)
普通人不赌不拼可以说是没有丝毫机会,总有一代人要去拼,你不拼,你的下一代就要去拼,那么互联网可以说是我们普通人翻身的最好机会!
如果你不想认命,想拥有一份长期事业或副业,想收入翻5倍10倍甚至更多,那么这篇文章你一定要仔细看完,因为会彻颠覆你对互联网搞米的认知,从这一刻起有可能会改变你的民运,乾坤未定,你我皆是黑马,趁年轻,趁还有机会,多奋斗把,干才有希望,不干一点希望都没有,加油,兄弟们!!!
大家好,我是星舰联盟的白月长风,一个实体创业失败者,于是混迹互联网搞米8年,中专毕业没什么文化,跟大多数人一样普通的不能再普通的人了 (进过厂,干过销售,没有干过什么高级的工作,做过小买卖最后都是干倒闭),精彩的文章我也写不出来,初中写的作文,从来没及格过(哈哈),比不了那些高材生,大家就将就着看哈。
曾经我也是一个小白,对互联网创业一无所知,刚开始进入互联网的时候每天都像无头苍蝇一样在网上到处找项目,因为对互联网认知太低,什么项目能做,什么项目是割韭菜的根本分辨不了,所有韭菜被人割了一次又一次,想想就心酸,不过这对我来说这也是一种成长,今天给大家分享一下这几年做互联网的心得,希望更多的人在互联网创业中少走弯路。
没做互联网之前,我是做实体生意的,跟朋友合伙投资几十万开了一家糕点店,糕点大家应该都不陌生吧,相信很多人都吃过,学手艺好几年攒了点钱,我也想当老板自己干,可能我不是这块料,开店这一年多,把辛苦攒下来的钱都赔光了,然后卷铺盖回家了,回到家已经身无分文,穷途末路了,信用卡欠了10多万,办了十张XYK, 懂的人都懂为什么要办这个多XYK,那时候都快被这个信用卡搞死了,目前已经成功上岸,还没上岸的兄弟要加油啊,去干去折腾才有希望。(奉劝各位千万别用XYK,那就是个无底洞)
这是我当时开的店(现在打死我都不会投资几十万去开店,真是后悔没早点接触这个行业 ,做互联网的好处真是太多了,白手就能起家,还能陪在家人身边,不用为了钱东奔西跑, 平时想去哪玩,只要带台手机出去也不耽误赚钱,唯一的不好就是伤身体,所以做互联网的兄弟们,平时也要多锻炼身体,健康才是第一,其他的一切都是浮云)
那时候,在家里也闲不住,刚好家里有台闲置的电脑,就抱着试一试的心态开始在互联网看看能不能搞点米,也没想着赚多少钱 ,能维持生活就心满意足了,就这样子开始了我的互联网之路。
说干就干,于是到处找项目,那时候薅羊毛比较火,白嫖了一个撸货的技术,那时候全网都在撸货,其实也不叫白嫖, 天下没有免费的午餐,撸一单他从我这里赚了几块,别人辛苦教我,赚点钱也是应该的,我那时候还是比较感激的,最起码我每天能看有点收入。
然后每天撸啊撸,从早撸到晚一天赚个一两百,除了上厕所,吃饭时间基本都呆在电脑旁边,就这样的做了几个月,做的时间久了,路子就做通了,开始加设备,找了几个兼职,那时候一天也能有500+的收入,做了半年后来因为平台风控,账号原因就停了。
既然走上了这条路,那就不能停啊,这个做不了,就做别的,又开始找项目,找了个大佬学APP拉新,镰刀一挥,就是688,做拉新确实也能赚点钱,做了一段时间平台风控了,项目又黄了,没办法啊,接着找项目,找了个游戏用脚本挂机的,开口就是1980,这回变聪明了,找了几个志同道合的,一起拼个车,又开始干了,投资加电脑,先买了2台电脑回来试试,干了半个月才发现被割韭菜了,说好的月入几万,原来是他月入几万,一台电脑累死累活一天18个小时就赚几十块,果断放弃,(互联网小白最喜欢的看到的就是什么挂机项目,什么日入几百的项目,因为这些话术特别容易拿捏他们,然后交钱就开始干,别做梦了,你什么都没付出就能日入几百,那中国就没有穷人了,即使有也轮不到你,每天我都在接触很多各种各样的人,基本上每天都有人问我:有没有不用时间就能赚几百的项目,有没有挂机月入几万的项目,有没有特别轻松就能赚钱的项目,遇到这类人,我都会说有,你要说没有跟他讲道理,他会跟你急的 ,他会说你是垃圾,傻逼,这种人我只想说:都是成年人了,努力和赚钱是对等的,这个道理你都不懂吗?你穷的只剩时间了,你还想着怎么节省时间!你等着天使掉馅饼呢?所有说成年人的世界永远都是只筛选,不教育)
不能停啊,继续找项目,后来陆陆续续做了很多小项目,什么手机游戏挂机啊,打金啊,各种薅羊毛啊,往往都是付出的跟收入不成正比,一直在不停的找项目,做项目,韭菜被人割了一波又一波。
唯一值得庆幸的是没投资过重资产创业,大家千万别做那种一次性买十几台电脑,几十部手机那种项目真心别轻易尝试,别轻信别人说可以无限放大,因为不确定因素太多,倒在这些项目上的人比比皆是。
我认识的一个朋友做虎牙挖宝,一个软件几W,别人稳定了2年的项目,他干了两个月,项目黄了,现在回想起来互联网水实在太深了,做互联网创业能实现财富自由的人确实不少,但是更多的人可能只能维持生活,或者比上班强一点,也有很多人慢慢的失去了对互联网创业的信心。在互联网创业能坚持下来的人,真是少之又少。(以前我做项目的那个圈子,现在99%都退网了,为什么呢?因为做项目都有周期性,时效性,你要不停的去找项目换项目,但是能赚到钱的项目少之又少,很多人维持不住生活,最后只能退网了)
这一路走来, 我明白了一个道理,互联网的终点站就是卖项目,做项目真的太累了,花了钱还浪费时间跟精力,最后还很难拿到结果,但是卖项目比自己做项目要赚得多的多(那些大割们卖你一个项目就赚你大几百,几千,而你还在傻傻的操作那个项目,累死累活一天赚几块钱,好一点一天赚几十,是不是这个道理),而且卖项目是个长期可持续的项目,能够让你长期立足于互联网,不用担心三天饿两顿,不用担心这个项目黄了,下个项目我要做什么。
于是我也尝试卖项目,就是男粉项目,这是我一直在做的项目,也是真正能赚到钱的项目,把自己花了很长时间摸索出来的经验和方法教给别人,收费也是理所应当的。
卖项目的第三天我一次就收到了2个学员,他们购买了我的男粉项目,我收了398,一天就赚了800,这来钱速度比自己累死累活买一堆设备自己做项目快的多啊,尝到了甜头之后,于是我开始深耕卖项目收学员这条路
这个男粉项目我做了一段时间,也挺挣钱,就是废账号,要一直买账号,有时候买的账号都回不了本,赚的也是辛苦钱,天天熬夜搞,一天也能赚个300+吧,运气好,一个账号就搞1000+
所以你要明白一点:今后想通过互联网做项目,赚钱的人,会越来越多。你是想要去跟他们竞争,去跟他们一起卷,还是想要比他们高一个阶层,去卖项目给他们,去赚他们的钱?当然是要去,赚那些想赚钱的人的钱啊!!!谁想赚钱,就赚谁的钱!想在互联网那个想赚钱的人,是永远不会消失的,而且会越来越多
现在网赚圈普遍存在一个现象:几乎99%的人都被割过韭菜,普通人做项目,赚钱越来越难,各种网赚项目更新速度太快了 ,有的项目几天就死了,长久的能搞几个月,做项目累死累活一天赚个几百。反而卖项目、搞培训的从来不换项目一直在搞,赚得盆满钵满,到了年底都是提豪车就是买豪宅。
80%的人则永远被那剩下的20%操控着,你们所接触到的项目和信息都是被那20%的人精心包装出来的。你们所看到的,都是那20%的人想让你们看到的。如果你真的想靠实实在在自己做项目赚钱,我劝你趁早退出这个圈子。
说这些话可能有些不好听,但却是非常真实的。你可以想一想,你做过的那些项目中,有几个能真正赚到钱或者赚回学费的?
那么,我们应该如何跨越这道鸿沟,成为那20%的人呢?
我要说明的是:首先先把韭菜思维忘掉。韭菜思维认为,我没赚到钱是因为没找到好项目,如果我找到一个好项目,埋头苦干就一定能赚到钱。
我相信看到这篇文章的大部分人都被割过韭菜,剩下的一小部分可能是刚接触互联网的小白,但被割韭菜也只是时间问题。
你可以仔细回想一下被割韭菜的经历,整个流程中收益最大的人是谁?是一个星期赚不了100块钱的你,还是卖一个项目就赚你钱的人。
其实不是你不行,是你操作的那个项目根本不行,你根本看不明白他们的变现逻辑是什么吗?他们不是靠做项目赚钱,是靠卖你一个项目收费大几百几千!
第一种是小白:看到那种暴力无脑复制黏贴,轻松日入XXX,交了钱,100%赚钱,他们看到这样子的项目就好像在沙漠里面发现绿洲一样,无论付出代价都要搞过来做一做,觉得只要搞过来就可以不用上班在家躺着赚钱了。有这样子想法的人真不在少数,那么被割韭菜的几率也是100%
第二种就是:觉得要你交钱的都是割韭菜的,不接受付费,所以他们在网上各种找项目,觉得合适的就去尝试一下,几天下来发现没效果,在去试别的项目。这样子很长一段时间,都是在网上找项目,尝试项目,在找项目中度过的。最后自己感觉就是网上的赚钱项目根本赚不到钱,都是骗人的,只能老老实实去上班了。
千万不把要时间,费浪在摸自我索的过程。自我摸索其实是最浪时费间,并且很拿难到果结的,一个项目真正是否能落地,可能有几十个细节和要点。我一直付认为费学习,是快最拿结果的。因为成功的经验验,都别是人花大了的量时间,和金钱践实出来的。一个细节点,你自己要摸索好久,但有经验的人,几句话就能帮你点透,而你要只需花一点小钱可以得到。免费的不仅让费你浪大量的时和间精力,最后还磨会你灭的信心。
大家也可能做过很多项目,无论你是大咖,还是小白,都要有一颗持之以恒的心,没有一夜暴富的项目,大家不要做梦,一定要脚踏实地的去做,只有努力了才会有结果,所以大家一定要保持一个好的心态,持之以恒,选好一个项目,一直坚持努力的做下去,才会得到你想要的结果,成功不是一蹴而就,而是慢慢积累起来的。想要赚大钱一定是要做有积累的事情
如果你想在互联网创业,那么最主要的问题,你首先是要去找项目,外面的项目琳琅满目,动不动都是大几百,几千的项目,最后能不能赚到钱还是个问题,好的项目都是别人做烂了的才放出,肉都被吃完了,到最后我们只能喝点汤,有时候可能连汤都喝不上。
说到这里你应该不会在去傻傻的去做项目了吧,应该都明白互联网项目的终点站就是卖项目!
那应该如何去卖项目呢?我们不要去跟那些大割们一样把某一个项目进行包装,他们自己都很难拿到结果的项目,然后拿出来卖,去割别人大几百,几千,那真是丧良心。
第一,拼多多无货源电商,有人跟我说过他做多多无货源电商的经历,免费教学,他们宣传说是赚供应链的钱,你只需要负责售后,他们帮你发货,帮你上品,推广需要你自己花钱,开店第一天就给你上推广,卖的是榴莲,推广花了3000多,出了900多单,发了17000多的货,结果700多单退款的,才收回来3800,后来要求退钱,就开始扯皮,要求这要求那,真是踩大坑了,所以,要记住免费的往往就是最贵的!
第二,抖音无人直播带货,抖音目前是抵制无人直播带货的,你对着平台干,你能赚钱吗,竟然还有人相信别人有这个技术让你的号不违规,不下播,有多少号给你封多少号,最后的结果就是钱打水漂,所以,对抗平台的项目不要去碰
第三,游戏挂机打金搬砖,广告词大多数都是,免费教学,简单轻松,日赚500+,有电脑就能做,有手机就能做,对外宣称单机月入大几千,甚至过万,游戏材料包回收,好像你只需要配上几台电脑,就能月入十几万,年入几百万,老板对你很热情也是免费教你,开始随便给你点甜头,然后引导你手动太慢了 ,要你买脚本,一个脚本几百块,脚本不单卖,要买就买几个月的,一顿给你忽悠,让你觉得买完脚本你就要发财了,你一次性买个6个脚本买完脚本你就上当了,号全给干没了,你去找老板,老板说你操作不对,让你继续买脚本,哈哈
第四,短视频,图文带货,短视频确实成就了不少人,但是做过带货的伙伴应该都知道,这玩意普通人根本干不了,一个月能出一单就烧高香了,当然不是说带货不挣钱,而是打着教你做带货的一定不挣钱,认清形势,凭什么你交几千块就能让你带货赚几十万?
第五,中视频计划,大人,时代变了+,抖儿子给脸不要脸,工作室账号成本一个300打底,个人去做时间投入成本跟回报不成正比。当然做还是能做的,付费学习就算了!找个知识分享赛道或者科技知识赛道干就行了,影视解说洗洗睡吧。
第六,搬运短剧带货,废号,关键盈利来源于带货,带货需要什么都知道吧,一个号被和谐了起码一个月用不了,保证金也扔进去压一个月!
如果你手里真正有靠谱稳定的项目,那确实可以拿出来卖,把你的经验跟方法教给别人,收别人学费,那也是你应该得到的,如果想学那些大割们,靠割韭菜发家致富,劝你还是算了吧。
既然卖项目99%都是割韭菜,那我们应该如何正确的进入这个赛道呢?
说下我是如何去卖项目的吧,我卖的并不是某一个项目,而是做的自己的网创项目资源整合站(星舰联盟资源站)
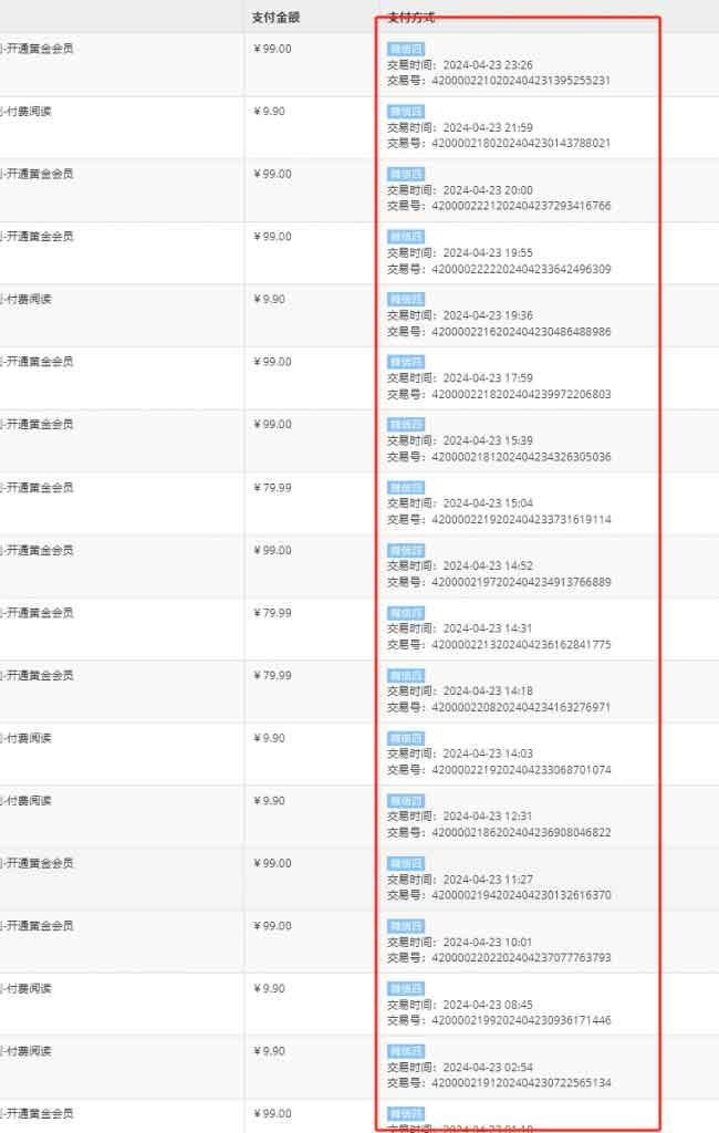
网站目前更新1W+互联网项目,每天都在持续更新全网火爆风口的项目,很多都是外面卖几百几千的项目,有的甚至不止,但我们这个平台上面全部课程加起来才卖99,单课程卖9.9,如果你是单纯的想做项目,可以开个99的网站会员,看到好的项目可以自己去试一试,试错成本会很低啊,所以对有需要的人来说是很值的,可以减少你的信息差,杜绝被割韭菜的风险!(网站里面的项目大家也要理性看待,做网站的初衷是:杜绝割韭菜,减少试错成本。任何项目都不可能适合所有人,好的项目也不是每个人都能够做好,教程只能说给你提供一个思路跟方向,不是说你看了资料就能马上挣钱,任何项目都有人挣钱,挣多挣少全靠自己本事,教程只是告诉你这个项目的存在以及如何操作,仅此而已)
第一、我看好卖项目这个赛道,但是我不想当大割,单课程卖9.9,开通网站会员99即可全站资料免费学习,这个性价比很高吧,这个不是割韭菜吧?
第二、需求群体庞大,以后网络会越来越发达,想网上赚钱的人会越来越多,那些想在互联网赚钱的的人都是我们的客户,平台有很多他们需要引流的课程,抖音,自媒体课程,以及各种互联网赚钱的项目,换句话说只要是想要网络赚钱的人都是我们的目标用户。
第三、稳定,能够让我长期立足于互联网,不用担心这个项目黄了,又要花时间去找下一个项目
第四 、不跟我以前做项目一样,需要买一堆设备,下载一堆软件,进行各种复杂的操作,做项目是真的心累,做过的人应该都知道
目前我靠自己的网创项目资源站每天收益稳定在1500+,一个月的收入在5W+,说实话在此之前,我也是一个韭菜,从未想过卖项目可以这么赚钱,让我心里感受到了巨大的落差,现在回想起来,当时我真是太天真了,如果我能早点明白这个道理,可能我早就起飞了,所以赛道选择真的太重要了。
可能你觉得我是在吹牛,这个并不重要,我在互联网摸爬滚打8年时间,交过的学费,走过的弯路,吃过的苦,只有自己知道。
大家展示一下我做网站的收益图吧,这是比较辉煌的时刻,最高一天靠网站给我带来了将近1万的收益,对于很多人来说想都不敢想,说实在的我当初也没想过,我当初做互联网只想着能解决下温饱问题,1天赚1万什么概念?我以前上班一个月才5000,一天时间就赚了我两个月的工资,所以说互联网有无限可能,但是你要去干,路都是走出来的,干了才有希望,不干一点希望都没有。
还有我平时分享的资料顺带做的拉新每天都有大几十,虽然不多,但是稳定,可能很多专门做这个拉新项目的人想赚到这个收益都有点费劲
如果你觉得我这个模式可行,可以加盟,费用也不贵,就是你出去请客吃一顿饭的钱,就可以搭建一个跟我一摸一样的网站,1:1复制我的模式
我这套模式,入门门槛低,不管是个人还是团队,都可以操作。如果你不想认命,那你不如在互联网闯一闯,用小钱挣大钱,还是那句话,在互联网做项目不如卖项目,卖项目才是最赚钱的项目。
人生敢闯才有机会,敢拼才有未来, 干了才有希望,不干一点希望都没有!自己一个翻盘的机会!!!在自己能够给承受的范围内,一定要多去尝试,敢于尝试要比别人多出许多成功的机会,像我从来都不是一个拖拖拉拉磨磨唧唧的人,只要我想做某件事,在我能力范围内,我立马就会去做。
加盟商就是帮你搭建一个和星舰联盟一样的知识付费网站平台,我教你做网站赚钱,网站是你自己的域名服务器,接入的是你自己的收款,你自己就是站长,就是平台老板,网站所有联系方式都改成你的 ,独立运营,网站所有的利润都是你的。
我会把我做网站的经验、怎么搭建网站的、怎么对接支付收款的、怎么去引流的都会全部教会你,都有非常详细的课程讲解,就算你只有小学文凭也都能看懂,不懂的也可以随时问我,或者请教加盟商群里面的伙伴们,相信他们会很愿意分享他们的经验!
下面是我自己录制的一套完整课程

1,一对一扶持搭建网站(电脑版 手机版 安卓app 苹果app 公众号)
2,市面主流支付端口全部都有,对接支付(包上线)
3,全网资源更新速度最快,项目最新,资料最全!工具一键同步更新
4,特供第一手无水印资源(无任何第三方水印!),让你立足于不败之地!吸粉引流超给力!每天更新!
5,网站自带1万套课程数据,加盟后数据库直接导入你的网站,直接开始运营赚钱,免去前期资源更新烦恼!
6,后期最新资源和技术方法同步更新
7,提供原创引流技术,主动引流+被动引流渠道
8,拥有网站的所有权,完全独立,自主管理,自主收款,所有收益归加盟商!
9,提供永久售后一对一运营指导,加盟商交流群
我们可以直接把成熟的网课系统和运营经验复制给你,整站数据库导给你。
你把节省的时间,可以去找流量,去做成交,后面给你带来的客户,很快回本了。
找一个稳定、靠谱、有结果的人带你,这是入行最快的方式!
1、卖VIP会员:价格可以在后台自由设置,VIP会员设置98、198、298不等,一天卖一两个就是几百块,后期积累用户多了,收益只会越来越高。
2、卖单课:每个课程都可以设置价格,网站课程1万+
3、招网站加盟商:你可以打造自己的网站品牌,自己去收加盟,收多少价格自己定
4、做培训:网络培训衍生线下培训,都是高收入来源!
做知识付费虚拟课程资源站,后期没任何成本,全部都是纯利润!(知识付费行业未来会越来越吃香,对此我深有体会,一个月入5万+ 的机会摆在这里!知识付费普通人逆袭的唯一希望,早明白早挣钱)
不做任何收益保障,想要收益有保障的去找那些大割们,我只能承诺把我自己花了很长时间,踩过很多坑,摸索出来的做网站的经验和方法毫无保留的教给你,跟着有经验,有结果的人学习,会让你少走很多弯路,少踩很多坑,也比那些自己摸索的人更快的拿到结果!
方法告诉你了,赚多赚少与自己个人执行力有关,努力干一个人一年在家赚50万+,三天打鱼两天晒网的,这种人不要来浪费时间了!能拿到结果的前提一定是要去干,你不去干,那一切都是0,我也救不了你啊!
全程一对一服务,包教包会,后续有任何问题都会给你解决!在我这里绝对不会出现交钱不管事的情况,这个我是可以100%保证的,因为我也是从很难的时候走过来的,非常理解大家的不容易。
06.有人又会想,我要怎么把项目卖出去呢?最核心的无非就是引流(重点,这个是重中之重,没有流量一切都是空谈)
那么网站搭建好之后,肯定要去推广引流找精准用户吧(互联网创业,副业粉),不然你在好的东西没人知道也要烂在手里,当初做网站的时候,我觉得引流应该很简单吧,因为现在大环境不好,生活压力变大,很多人都想在互联网赚钱寻找副业(给自己多一份收入)或者创业(在互联网创业可以说成本是最低的还自由,比如我就比较喜欢自由,呆在家一台电脑,一台手机就能把钱赚,自己当老板,平时想干嘛就干嘛,出去玩带台手机也不耽误赚钱,也不用为了钱还得给别人低三下四, 看别人眼色),没想到最大的难点是在引流,导致我在引流这块下了很大的功夫!
因为我之前一直做项目,对推广引流这方面,完全是一片空白,网站开发到上线我才用了不到1个月的时间,但是引流足足花了我两个月的时间才稳定下来,前面两个月基本上每天要花10多个小时去研究引流。
说说我艰难的引流之路吧(引流让我付出了相当大的时间成本,一般都是研究到凌晨三点才休息)
都说同行是最好的老师,一点都没错(现在外面很多人都在模仿我)那就各大平台找对标账号,学习那些卖项目的大割是怎么引流的。
在引流上面我踩了很多坑,走过很多弯路,花了很多不必要花的钱,对我来说这也是一种成长,人生没有白走的路,走的每一步都算数,我不会放弃,我不服输,我看好这个赛道,我就要把他做好。经过长时间的摸索,我终于研究出了适合我自己的六套引流方案,每天只需要一两个小时就能搞定,我目前能保持每天精准粉80+(这套方法同样也适合每一个普通人),解决的了别人解决不了的问题就能赚的了别人赚不了的钱
那么做引流,我有三不做
第一,会封号的不做,做引流最重要的就是不封号,所以我不玩废号流,好比你辛辛苦苦经营的几个月的账号,好不容易流量起来了,结果号封了,你又要重新花时间起号,那你不就是又断流了吗,所以做流量一定是要稳定,不要这顿吃饱了,下一顿还还不知道在哪!
第二,太费时间的不做
第三,要动脑写文案的不做(我就中专毕业,真没这个水平!)
引流之路我从来没有停止过,一直在尝试研究新的方法,只要找到一个可行的方案,那么我就会放大矩阵去做,只要你去做好一个,那么你就不会缺流量
如果你也看到卖项目这个赛道,那我会把我的经验和方法毫无保留的教给你,让你少走弯路,少踩坑,这就是付费的意义,花钱没别人的经验和方法,就是成功最快的途径

想从事互联网行业,想和我一样立足网络,在网上拥有自己的地盘!但缺少资源,缺少技术,缺少经验的人!通过自己的努力,改变现状逆风翻盘。三天打鱼两三晒网的不要来浪费时间。
人生敢闯才有机会,敢拼才有未来,不苦不累人生无味,不拼不博人生白活,好好干翻身,干不好大不了继续进厂打螺丝,每个人都要给自己拼搏一次的机会!
是不是割韭菜?
不存在割韭菜一说,主要是教你如何去引流做网站,只要你学会精准引流,以后在互联网不愁混不下去,所学到的东西价值远远超过你交的费用,花钱学习别人的经验跟方法付费是理所应当。不是教你做项目,8年互联网全职经验告诉你,花钱学做项目90%要被割韭菜,不信你可以去试试?
能看到这,说明你对这个项目是感兴趣的,多的也不说了,如果你有执行力,每天能挤出半小时至一小时左右的时间,闭眼加入就行。不存在什么割韭菜一说!
简单一句话,我是怎么做的,你就1:1跟着我说的去做,按照我说的方法,保证可以做出效果!记住这是踏踏实实做项目,带着你,我们一起搞钱。
网赚圈赚钱的秘籍就是卖项目,搞培训,早领悟早赚钱,一个人一台手机搞的牛逼月入10万+,如果你还不明白,还在到处瞎找项目,去买项目基本上是浪费时间,当韭菜,做互联网这么多年深有感触!
考虑清楚在上车,虚拟项目不支持退款!考虑充分,有耐心和执行力,拒绝三分钟热度,非短期项目不同于做网赚项目见效快死得也快,做站长追求的是长期稳定的事业,靠积累,需沉淀,不过时,做的时间越久收入越高!网站既可以当主业做也可以当一个副业去做。
价格绝对良心,你去外面学个煎饼果子都要花几千块,相对于实体,互联网创业投资成本低的不能在低了,很多人做实体投资大几万,几十万最后赔的血本无归,我们要用最小的成本去挑战最大的希望,做互联网做大的好处就是,既能在家挣米,又能同时兼顾家人,不用在去外面东奔西跑了,这对我来说深有体会
内容包含:
1、一对一扶持搭建同款网站
2、自动更新(每天自动同步更新到你的网站)
3、对接支付端口(微信,支付宝)
4、无水印课程
5、网站源码(自带1万+课程数据)
6、拥有网站的所有权,完全独立,自主管理,自主收款,所有收益归全归你!
7、服务时间24个月
8、提供整套网站运营方案(1:1复制我的模式,全套方法复制给你,你只需要跟着我的脚步一步一步走)
9、自用独家推广引流方案(长期稳定,不封号玩法,非市面上常见的废号流)
我花了大量时间总结和踩坑,整理出来的最适合普通人做的六种引流方案,六种引流渠道同时进行,被动加人,绝非烂大街技术,前期日引50+精准创业粉,转化率极高,每天需要拿出1到两个小时去执行,这点时间都拿不出来的不要来找我了。(能解决别人解决不了的问题,你就能赚别人赚不到的钱,自古以来的商业模式都是如此)
成年人的世界永远都是价值交换,花钱买别人的经验和方法,自然能让你少走很多弯路,少踩很多坑,这就是成功最快的方法,自己研究看似省钱,但是最后都会体现在其他地方,任何事情,最大的成本就是时间成本,如果有人带着你3天就能解决的事情。千万不要自己摸索3个月!
站长微信:starxj999 备注网站加盟 按照我的方法去做,一个月左右回本 如果频繁添加不上加QQ350823371
1.磨磨唧唧的千万别来,这种人只适合打工,不适合创业
2.维持不住生活的别来,我不想做你的救命稻草
3.想交钱暴富的千万别来
4.怕失败的别来,这种人也只适合打工(不用投资,老板还给你钱)
5.没有执行力的(拒绝空想家)
6.没耐心看不懂这篇文章的不要咨询,看不懂我也救不了你
如果你想在互联网创业,那么最主要的问题,你首先是要去找项目,外面的项目琳琅满目,动不动都是大几百,几千的项目,最后能不能赚到钱还是个问题,好的项目都是别人做烂了的才放出,肉都被吃完了,到最后我们只能喝点汤,有时候可能连汤都喝不上。
说到这里你应该不会在去傻傻的去做项目了吧,应该都明白互联网项目的终点站就是卖项目!
那应该如何去卖项目呢?我们不要去跟那些大割们一样把某一个项目进行包装,他们自己都很难拿到结果的项目,然后拿出来卖,去割别人大几百,几千,那真是丧良心。
第一,拼多多无货源电商,有人跟我说过他做多多无货源电商的经历,免费教学,他们宣传说是赚供应链的钱,你只需要负责售后,他们帮你发货,帮你上品,推广需要你自己花钱,开店第一天就给你上推广,卖的是榴莲,推广花了3000多,出了900多单,发了17000多的货,结果700多单退款的,才收回来3800,后来要求退钱,就开始扯皮,要求这要求那,真是踩大坑了,所以,要记住免费的往往就是最贵的!
第二,抖音无人直播带货,抖音目前是抵制无人直播带货的,你对着平台干,你能赚钱吗,竟然还有人相信别人有这个技术让你的号不违规,不下播,有多少号给你封多少号,最后的结果就是钱打水漂,所以,对抗平台的项目不要去碰
第三,游戏挂机打金搬砖,广告词大多数都是,免费教学,简单轻松,日赚500+,有电脑就能做,有手机就能做,对外宣称单机月入大几千,甚至过万,游戏材料包回收,好像你只需要配上几台电脑,就能月入十几万,年入几百万,老板对你很热情也是免费教你,开始随便给你点甜头,然后引导你手动太慢了 ,要你买脚本,一个脚本几百块,脚本不单卖,要买就买几个月的,一顿给你忽悠,让你觉得买完脚本你就要发财了,你一次性买个6个脚本买完脚本你就上当了,号全给干没了,你去找老板,老板说你操作不对,让你继续买脚本,哈哈
第四,短视频,图文带货,短视频确实成就了不少人,但是做过带货的伙伴应该都知道,这玩意普通人根本干不了,一个月能出一单就烧高香了,当然不是说带货不挣钱,而是打着教你做带货的一定不挣钱,认清形势,凭什么你交几千块就能让你带货赚几十万?
第五,中视频计划,大人,时代变了+,抖儿子给脸不要脸,工作室账号成本一个300打底,个人去做时间投入成本跟回报不成正比。当然做还是能做的,付费学习就算了!找个知识分享赛道或者科技知识赛道干就行了,影视解说洗洗睡吧。
第六,搬运短剧带货,废号,关键盈利来源于带货,带货需要什么都知道吧,一个号被和谐了起码一个月用不了,保证金也扔进去压一个月!
如果你手里真正有靠谱稳定的项目,那确实可以拿出来卖,把你的经验跟方法教给别人,收别人学费,那也是你应该得到的,如果想学那些大割们,靠割韭菜发家致富,劝你还是算了吧。
既然卖项目99%都是割韭菜,那我们应该如何正确的进入这个赛道呢?
说下我是如何去卖项目的吧,我卖的并不是某一个项目,而是做的自己的网创项目资源整合站(星舰联盟资源站)
网站目前更新1W+互联网项目,每天都在持续更新全网火爆风口的项目,很多都是外面卖几百几千的项目,有的甚至不止,但我们这个平台上面全部课程加起来才卖99,单课程卖9.9,如果你是单纯的想做项目,可以开个99的网站会员,看到好的项目可以自己去试一试,试错成本会很低啊,所以对有需要的人来说是很值的,可以减少你的信息差,杜绝被割韭菜的风险!(网站里面的项目大家也要理性看待,做网站的初衷是:杜绝割韭菜,减少试错成本。任何项目都不可能适合所有人,好的项目也不是每个人都能够做好,教程只能说给你提供一个思路跟方向,不是说你看了资料就能马上挣钱,任何项目都有人挣钱,挣多挣少全靠自己本事,教程只是告诉你这个项目的存在以及如何操作,仅此而已)
第一、我看好卖项目这个赛道,但是我不想当大割,单课程卖9.9,开通网站会员99即可全站资料免费学习,这个性价比很高吧,这个不是割韭菜吧?
第二、需求群体庞大,以后网络会越来越发达,想网上赚钱的人会越来越多,那些想在互联网赚钱的的人都是我们的客户,平台有很多他们需要引流的课程,抖音,自媒体课程,以及各种互联网赚钱的项目,换句话说只要是想要网络赚钱的人都是我们的目标用户。
第三、稳定,能够让我长期立足于互联网,不用担心这个项目黄了,又要花时间去找下一个项目
第四 、不跟我以前做项目一样,需要买一堆设备,下载一堆软件,进行各种复杂的操作,做项目是真的心累,做过的人应该都知道
目前我靠自己的网创项目资源站每天收益稳定在1500+,一个月的收入在5W+,说实话在此之前,我也是一个韭菜,从未想过卖项目可以这么赚钱,让我心里感受到了巨大的落差,现在回想起来,当时我真是太天真了,如果我能早点明白这个道理,可能我早就起飞了,所以赛道选择真的太重要了。
可能你觉得我是在吹牛,这个并不重要,我在互联网摸爬滚打8年时间,交过的学费,走过的弯路,吃过的苦,只有自己知道。
大家展示一下我做网站的收益图吧,这是比较辉煌的时刻,最高一天靠网站给我带来了将近1万的收益,对于很多人来说想都不敢想,说实在的我当初也没想过,我当初做互联网只想着能解决下温饱问题,1天赚1万什么概念?我以前上班一个月才5000,一天时间就赚了我两个月的工资,所以说互联网有无限可能,但是你要去干,路都是走出来的,干了才有希望,不干一点希望都没有。
还有我平时分享的资料顺带做的拉新每天都有大几十,虽然不多,但是稳定,可能很多专门做这个拉新项目的人想赚到这个收益都有点费劲
如果你觉得我这个模式可行,可以加盟,费用也不贵,就是你出去请客吃一顿饭的钱,就可以搭建一个跟我一摸一样的网站,1:1复制我的模式
我这套模式,入门门槛低,不管是个人还是团队,都可以操作。如果你不想认命,那你不如在互联网闯一闯,用小钱挣大钱,还是那句话,在互联网做项目不如卖项目,卖项目才是最赚钱的项目。
人生敢闯才有机会,敢拼才有未来, 干了才有希望,不干一点希望都没有!自己一个翻盘的机会!!!在自己能够给承受的范围内,一定要多去尝试,敢于尝试要比别人多出许多成功的机会,像我从来都不是一个拖拖拉拉磨磨唧唧的人,只要我想做某件事,在我能力范围内,我立马就会去做。
加盟商就是帮你搭建一个和星舰联盟一样的知识付费网站平台,我教你做网站赚钱,网站是你自己的域名服务器,接入的是你自己的收款,你自己就是站长,就是平台老板,网站所有联系方式都改成你的 ,独立运营,网站所有的利润都是你的。
我会把我做网站的经验、怎么搭建网站的、怎么对接支付收款的、怎么去引流的都会全部教会你,都有非常详细的课程讲解,就算你只有小学文凭也都能看懂,不懂的也可以随时问我,或者请教加盟商群里面的伙伴们,相信他们会很愿意分享他们的经验!
下面是我自己录制的一套完整课程

1,一对一扶持搭建网站(电脑版 手机版 安卓app 苹果app 公众号)
2,市面主流支付端口全部都有,对接支付(包上线)
3,全网资源更新速度最快,项目最新,资料最全!工具一键同步更新
4,特供第一手无水印资源(无任何第三方水印!),让你立足于不败之地!吸粉引流超给力!每天更新!
5,网站自带1万套课程数据,加盟后数据库直接导入你的网站,直接开始运营赚钱,免去前期资源更新烦恼!
6,后期最新资源和技术方法同步更新
7,提供原创引流技术,主动引流+被动引流渠道
8,拥有网站的所有权,完全独立,自主管理,自主收款,所有收益归加盟商!
9,提供永久售后一对一运营指导,加盟商交流群
我们可以直接把成熟的网课系统和运营经验复制给你,整站数据库导给你。
你把节省的时间,可以去找流量,去做成交,后面给你带来的客户,很快回本了。
找一个稳定、靠谱、有结果的人带你,这是入行最快的方式!
1、卖VIP会员:价格可以在后台自由设置,VIP会员设置98、198、298不等,一天卖一两个就是几百块,后期积累用户多了,收益只会越来越高。
2、卖单课:每个课程都可以设置价格,网站课程1万+
3、招网站加盟商:你可以打造自己的网站品牌,自己去收加盟,收多少价格自己定
4、做培训:网络培训衍生线下培训,都是高收入来源!
做知识付费虚拟课程资源站,后期没任何成本,全部都是纯利润!(知识付费行业未来会越来越吃香,对此我深有体会,一个月入5万+ 的机会摆在这里!知识付费普通人逆袭的唯一希望,早明白早挣钱)
不做任何收益保障,想要收益有保障的去找那些大割们,我只能承诺把我自己花了很长时间,踩过很多坑,摸索出来的做网站的经验和方法毫无保留的教给你,跟着有经验,有结果的人学习,会让你少走很多弯路,少踩很多坑,也比那些自己摸索的人更快的拿到结果!
方法告诉你了,赚多赚少与自己个人执行力有关,努力干一个人一年在家赚50万+,三天打鱼两天晒网的,这种人不要来浪费时间了!能拿到结果的前提一定是要去干,你不去干,那一切都是0,我也救不了你啊!
全程一对一服务,包教包会,后续有任何问题都会给你解决!在我这里绝对不会出现交钱不管事的情况,这个我是可以100%保证的,因为我也是从很难的时候走过来的,非常理解大家的不容易。
06.有人又会想,我要怎么把项目卖出去呢?最核心的无非就是引流(重点,这个是重中之重,没有流量一切都是空谈)
那么网站搭建好之后,肯定要去推广引流找精准用户吧(互联网创业,副业粉),不然你在好的东西没人知道也要烂在手里,当初做网站的时候,我觉得引流应该很简单吧,因为现在大环境不好,生活压力变大,很多人都想在互联网赚钱寻找副业(给自己多一份收入)或者创业(在互联网创业可以说成本是最低的还自由,比如我就比较喜欢自由,呆在家一台电脑,一台手机就能把钱赚,自己当老板,平时想干嘛就干嘛,出去玩带台手机也不耽误赚钱,也不用为了钱还得给别人低三下四, 看别人眼色),没想到最大的难点是在引流,导致我在引流这块下了很大的功夫!
因为我之前一直做项目,对推广引流这方面,完全是一片空白,网站开发到上线我才用了不到1个月的时间,但是引流足足花了我两个月的时间才稳定下来,前面两个月基本上每天要花10多个小时去研究引流。
说说我艰难的引流之路吧(引流让我付出了相当大的时间成本,一般都是研究到凌晨三点才休息)
都说同行是最好的老师,一点都没错(现在外面很多人都在模仿我)那就各大平台找对标账号,学习那些卖项目的大割是怎么引流的。
在引流上面我踩了很多坑,走过很多弯路,花了很多不必要花的钱,对我来说这也是一种成长,人生没有白走的路,走的每一步都算数,我不会放弃,我不服输,我看好这个赛道,我就要把他做好。经过长时间的摸索,我终于研究出了适合我自己的六套引流方案,每天只需要一两个小时就能搞定,我目前能保持每天精准粉80+(这套方法同样也适合每一个普通人),解决的了别人解决不了的问题就能赚的了别人赚不了的钱
那么做引流,我有三不做
第一,会封号的不做,做引流最重要的就是不封号,所以我不玩废号流,好比你辛辛苦苦经营的几个月的账号,好不容易流量起来了,结果号封了,你又要重新花时间起号,那你不就是又断流了吗,所以做流量一定是要稳定,不要这顿吃饱了,下一顿还还不知道在哪!
第二,太费时间的不做
第三,要动脑写文案的不做(我就中专毕业,真没这个水平!)
引流之路我从来没有停止过,一直在尝试研究新的方法,只要找到一个可行的方案,那么我就会放大矩阵去做,只要你去做好一个,那么你就不会缺流量
如果你也看到卖项目这个赛道,那我会把我的经验和方法毫无保留的教给你,让你少走弯路,少踩坑,这就是付费的意义,花钱没别人的经验和方法,就是成功最快的途径

想从事互联网行业,想和我一样立足网络,在网上拥有自己的地盘!但缺少资源,缺少技术,缺少经验的人!通过自己的努力,改变现状逆风翻盘。三天打鱼两三晒网的不要来浪费时间。
人生敢闯才有机会,敢拼才有未来,不苦不累人生无味,不拼不博人生白活,好好干翻身,干不好大不了继续进厂打螺丝,每个人都要给自己拼搏一次的机会!
是不是割韭菜?
不存在割韭菜一说,主要是教你如何去引流做网站,只要你学会精准引流,以后在互联网不愁混不下去,所学到的东西价值远远超过你交的费用,花钱学习别人的经验跟方法付费是理所应当。不是教你做项目,8年互联网全职经验告诉你,花钱学做项目90%要被割韭菜,不信你可以去试试?
能看到这,说明你对这个项目是感兴趣的,多的也不说了,如果你有执行力,每天能挤出半小时至一小时左右的时间,闭眼加入就行。不存在什么割韭菜一说!
简单一句话,我是怎么做的,你就1:1跟着我说的去做,按照我说的方法,保证可以做出效果!记住这是踏踏实实做项目,带着你,我们一起搞钱。
网赚圈赚钱的秘籍就是卖项目,搞培训,早领悟早赚钱,一个人一台手机搞的牛逼月入10万+,如果你还不明白,还在到处瞎找项目,去买项目基本上是浪费时间,当韭菜,做互联网这么多年深有感触!
考虑清楚在上车,虚拟项目不支持退款!考虑充分,有耐心和执行力,拒绝三分钟热度,非短期项目不同于做网赚项目见效快死得也快,做站长追求的是长期稳定的事业,靠积累,需沉淀,不过时,做的时间越久收入越高!网站既可以当主业做也可以当一个副业去做。
价格绝对良心,你去外面学个煎饼果子都要花几千块,相对于实体,互联网创业投资成本低的不能在低了,很多人做实体投资大几万,几十万最后赔的血本无归,我们要用最小的成本去挑战最大的希望,做互联网做大的好处就是,既能在家挣米,又能同时兼顾家人,不用在去外面东奔西跑了,这对我来说深有体会
内容包含:
1、一对一扶持搭建同款网站
2、自动更新(每天自动同步更新到你的网站)
3、对接支付端口(微信,支付宝)
4、无水印课程
5、网站源码(自带1万+课程数据)
6、拥有网站的所有权,完全独立,自主管理,自主收款,所有收益归全归你!
7、服务时间24个月
8、提供整套网站运营方案(1:1复制我的模式,全套方法复制给你,你只需要跟着我的脚步一步一步走)
9、自用独家推广引流方案(长期稳定,不封号玩法,非市面上常见的废号流)
我花了大量时间总结和踩坑,整理出来的最适合普通人做的六种引流方案,六种引流渠道同时进行,被动加人,绝非烂大街技术,前期日引50+精准创业粉,转化率极高,每天需要拿出1到两个小时去执行,这点时间都拿不出来的不要来找我了。(能解决别人解决不了的问题,你就能赚别人赚不到的钱,自古以来的商业模式都是如此)
成年人的世界永远都是价值交换,花钱买别人的经验和方法,自然能让你少走很多弯路,少踩很多坑,这就是成功最快的方法,自己研究看似省钱,但是最后都会体现在其他地方,任何事情,最大的成本就是时间成本,如果有人带着你3天就能解决的事情。千万不要自己摸索3个月!
站长微信:starxj999 备注网站加盟 按照我的方法去做,一个月左右回本 如果频繁添加不上加QQ350823371
1.磨磨唧唧的千万别来,这种人只适合打工,不适合创业
2.维持不住生活的别来,我不想做你的救命稻草
3.想交钱暴富的千万别来
4.怕失败的别来,这种人也只适合打工(不用投资,老板还给你钱)
5.没有执行力的(拒绝空想家)
6.没耐心看不懂这篇文章的不要咨询,看不懂我也救不了你
------本页内容已结束,喜欢请分享------
感谢您的来访,获取更多精彩文章请收藏本站。